SF87齒輪減速機詳細信息
SF87齒輪減速機
SF87齒輪減速機重量:
SF87齒輪減速機重量 | SF87齒輪減速機配電機重量 | |||||||||
| SF87-0.75KW | SF87-1.1KW | SF87-1.5KW | SF87-2.2KW | SF87-3KW | SF87-4KW | SF87-5.5KW | SF87-7.5KW | SF87-11KW | SF87-15KW | |
102Kg | 118Kg | 122Kg | 125Kg | 134Kg | 137Kg | 148Kg | 162Kg | 175Kg | 217Kg | 237Kg |
SF87齒輪減速機潤滑油:
SF87齒輪減速機潤滑油類型有礦物油,合成油,齒輪油。
SF87齒輪減速機潤滑油類型 | SF87齒輪減速機不同安裝方式的潤滑油加注量(升) | |||||
M1 | M2 | M3 | M4 | M5 | M6 | |
合成油 | 3.80升 | 8.00升 | 7.1/10.1升 | 12.0升 | 9.1升 | 9.1升 |
SF87齒輪減速機電機電壓:
| 功率 | 規格尺寸 | 電壓 | 電阻 |
| 100W | 110*70*30 | 380\220 | |
| 180W | |||
| 200W | 110*70*55 | 380\220 | 36.6 |
| 250W | 110*70*55 | 380\220 | 31.7 |
| 370W | 110*70*70 | 380\220 | 22.8 |
| 400W | 110*70*70(老款) | 380\220 | 21.2 |
| 400W | 110*70*80(新款) | 380\220 | 16.7 |
| 400W | 140*85*45(140框) | 380\220 | 16.03 |
| 550W | 140*85*45 | 380\220 | 12.7 |
| 750W | 140*85*45(畜牧專用) | 380\220 | |
| 750W | 140*85*60 | 380\220 | 8.75 |
| 1100W | 140*85*60(畜牧專用) | 380\220 | 6.9 |
| 1100W | 140*85*70 | 220V/50Hz | 6.77 |
| 380V/50Hz | |||
| 415V/50Hz | |||
| 440V/50Hz | |||
| 230V/60Hz | |||
| 380V/60Hz | |||
| 440V/60Hz | |||
| 460V/60Hz | |||
| 160 | |||
| 1500W | 160*95*55(28軸) | 380\220 | 6.66 |
| 1500W | 160*95*55(畜牧專用) | 380\220 | 5.2 |
| 1500W | 160*95*80 | 380\220 | 3.75 |
| 2200W | 160*95*85(加強) | 380\220 | 2.48 |
| 2200W | 180*110*75 | 380\220 | 2.7 |
| 3000W | 180*110*80(加強) | 380\220 | 2.01 |
| 3700W | 180*110*100 | 380\220 | 1.45 |
| 5500W | 210*136*120 | 380\220 | |
| 7500W | 210*136*160 | 380\220 | |
| 4000W | 180*110*120(加強) | 380\220 | 1.14 |
| 5500W | 210*136*120(48槽) | 380V | |
| 7500W | 210*136*160(48槽) | 380V | |
| 5500W | 210*136*105(36槽) | 200V | 0.637 |
| 210*136*105(36槽) | 220V | 0.767 | |
| 210*136*105(36槽) | 380V | 2.3 | |
| 210*136*105(36槽) | 415V | 2.74 | |
| 210*136*105(36槽) | 480V | 3.67 | |
| 7500W | 210*136*145(36槽) | 380V | 1.55 |
| 210*136*145(36槽) | 220V | 0.52 | |
| 210*136*145(36槽) | 415V | 1.85 | |
| 210*136*145(36槽) | 440V | 2.08 | |
| 210*136*145(36槽) | 480V | 2.47 | |
| 11KW | 380V | 1.1 | |
| 220V | 0.37 | ||
| 15kw | 260*170 | 380V | 0.81 |
| 220V | 0.27 | ||
| 18.5KW | 380V | 0.73 | |
| 220V | 0.24 | ||
| 22KW | 380V | 0.32 | |
| 220V | 0.11 | ||
| 24KW | 380V | 0.3 | |
| 30KW | 380V | 0.255 | |
| 220V | 0.09 |
質量好的SF87齒輪減速機:檢驗項目自鎖減速機
1.SF87齒輪減速機機械性能檢測:振動、噪音異響速比軸跳動外觀型號氣密性;
2.SF87齒輪減速機電器性能檢驗:漏電、電流平穩性空載電流;
3.SF87齒輪減速機裝箱檢驗:減速機配套附件說明書、合格證。伺服電機蝸輪蝸桿減速機
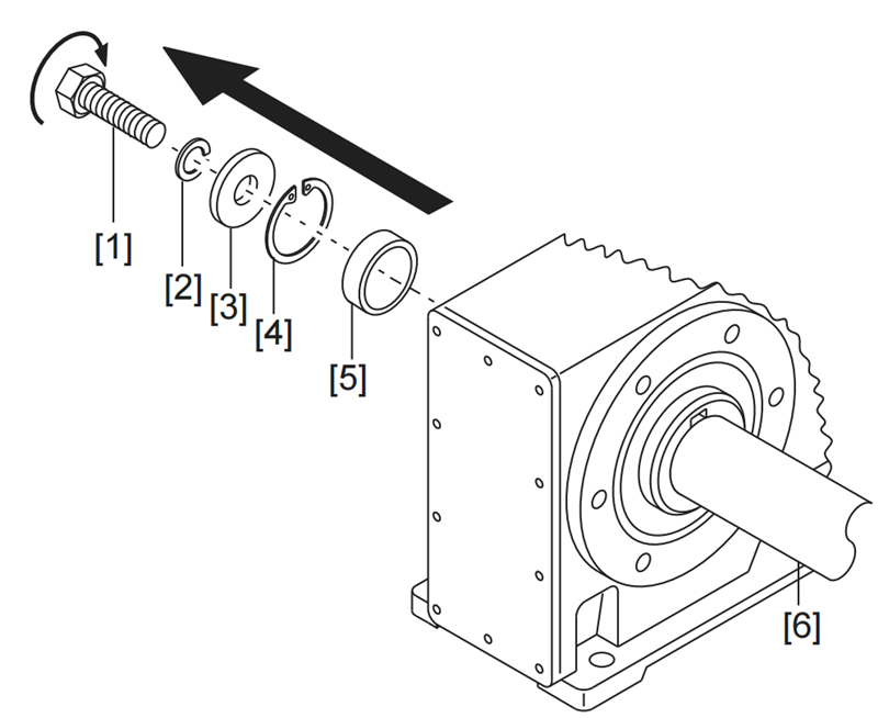
SF87齒輪減速機拆卸步驟:
本說明只針對采用BOSERL公司裝卸套件進行安裝的情況。此處描述的用來緊固用戶軸的 BOSERL安裝組件包由BOSERL公司推薦采用。同時必須經常檢查其設計安裝位置能有效地對軸向載荷進行補償平衡。特殊要求場合下(例如緊固攪拌旋轉軸)則應配置一個額外的構件來確保軸向安全。這種情況下無論何時都能由用戶自行配備一個軸向安全結構。但在這里要保證該結構根據DIN EN 13463標準不能引起潛在的電火源例如放電火花)。
松開固定螺釘[1];折卸下零件[2]至零件[4],如果有必要,連同折去間隔襯套[5]。
[1]緊固螺栓[2]彈簧墊圈[3]墊圈[4]卡環[5]間隔襯套[6]用戶軸

將BOSERL裝卸套件中的壓機墊片[8]與防松螺母[7]裝上用戶軸[6]與卡環[4]間。在裝上卡環[4]o重新旋緊緊固螺栓[1]。現在可以擰緊螺栓將減速器從軸上推出。
[1]緊固螺栓[4]卡環[]用戶軸[7]防松螺母[8]壓緊墊片

SF87齒輪減速機選型參數:
| SF87齒輪減速機輸出轉數 | 4.9轉,5.4轉,6.3轉,6.9轉,7.8轉,9.3轉,10轉,11轉,14轉,15轉,16轉,17轉,18轉,20轉,22轉,25轉,29轉,32轉,36轉,40轉,45轉,51轉,55轉,57轉,65轉,69轉,71轉,80轉,90轉,100轉,115轉,128轉,154轉,178轉。(以上轉數均為四級電機算出的,可用2P、6P、8P計算,也可以用變頻電機調速,當需要特別低速輸出時,可選擇R系列減速機作為S系列減速機的輸入) |
| SF87齒輪減速機配電機 | 可帶三相、直流、變頻、剎車、防爆、伺服、交流、單相電機SF87帶0.75KW,SF87帶1.1KW,SF87帶1.5KW,SF87帶2.2KW,SF87帶3KW,SF87帶4KW,SF87帶5.5KW,SF87帶7.5KW,SF87帶11KW,SF87帶15KW。 |
| SF87齒輪減速機負載扭矩 | 2280N.m,2260N.m,2210N.m,2150N.m,2100N.m,2060N.m,2000N.m,1960N.m,1510N.m,1880N.m,1600N.m,1820N.m,1700N.m,1240N.m,1140N.m,1010N.m。(以上扭矩均為四級電機得出扭矩,需要比上面更大的扭矩,可把電機功率加大,減速機型號加大,或者選擇跟R系列減速機組合使用) |
| SF87齒輪減速機速比 | 288比,258.18比,222.4比,202.96比,180比,151.3比,139.05比,123.48比,110.4比,99.26比,91.2比,86.15比,81.76比,77.14比,70.43比,64.27比,64比,57比,47.91比,44.03比,39.1比,34.96比,31.43比,27.28比,25.5比,24.43比,21.43比,20.27比,19.7比,17.49比,15.64比,14.06比,12.21比,10.93比,9.07比,7.88比。 |
SF87齒輪減速機銘牌含義:
SF87-BVPEJ18.5KW-4P-93.19-M1-270°
:系列代號
:減速機規格代號
B:電機
VPEJ:變頻剎車電機
18.5KW:電機功率
4P:電機級數
93.19:減速機傳動比
M1:減速機安裝位置
270°:接線盒位置
SF87齒輪減速機電機型號:

推薦類似型號:S87減速機
關鍵詞:電機加蝸輪蝸桿減速機一體化制造廠家_伺服電機蝸輪蝸桿減速機_SF系列減速機_伺服蝸輪蝸桿減速機_SF系列減速器_GSF系列減速機_伺服電機蝸輪蝸桿減速器_伺服蝸輪蝸桿減速器
SF系列蝸輪蝸桿減速機型號:SF37減速機,SF47減速機,SF57減速機,SF67減速機,SF77減速機,SF87減速機,SF97齒輪減速機
SF系列自鎖減速機可配變頻電機,剎車電機,防爆電機,伺服電機,交流電機,直流電機,三相電機,單相電機 0.12KW-22KW之間
如需工程師幫選型,請加微信13827261050,留言告知工程師參數要求
標簽:   SF87齒輪減速機 SF87減速齒輪箱 SF87減速馬達 SF87齒輪減速機廠家 SF87齒輪減速機生產廠家
